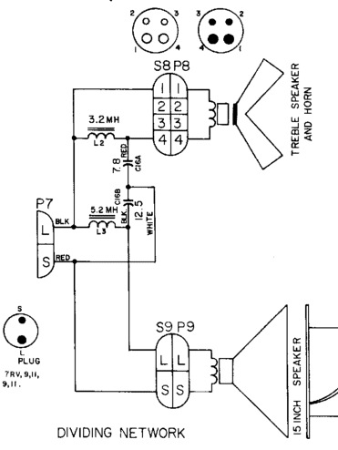
Crossover Schematic

Loading Image